Skip to content

Kidde Fire Detection Unit Part No. 892809-0400, 0400-01 Overhaul Manual

by Kidde
$17.00
SKU 40837:R

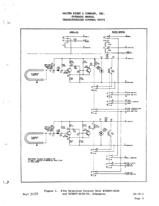
Fire Detection Unit Part No. 892809-0400, 892809-0400-01 - Dated Sept 30/1980 - F-41171B. 17 pages